找回密码
 注册
搜索
查看: 290|回复: 0

微软下一代Surface可能永远不需要充电

[复制链接]
发表于 2020-1-11 07:41 AM | 显示全部楼层 |阅读模式


微软下一代Surface可能永远不需要充电

文章来源: cnBeta
于 2020-01-10 23:30:22

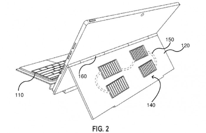
前各种报道称微软可能会在2020年推出重新设计的Surface Pro。现在微软一项专利申请表明微软Surface团队正在研发另一款革命性设备。微软已经向美国专利局申请了集成太阳能电池板的Surface Pro 8 Type Cover专利。 该专利最初于2018年下半年提交,并于周二在美国专利局公共平台上发布,但目前尚不清楚该公司是否已开始为这一想法进行工作,将专利用于Surface Pro未来产品当中。

在专利文件中,微软给出了类似SurfacePro的设备,其外壳集成太阳能电池和键盘。至少有四个太阳能电池板连接到Type Cover的背面,以便通过太阳光或者人造光源为设备充电。微软表示,该设备可以从任何人工光源充电。有趣的是,Surface Pro太阳能电池板的设计,使得用户中度使用设备时,也可以为设备充电。

这项专利也显示,微软可能为设备搭载更多的太阳能电池板,而不是所示的四个电池板。太阳能电池板可以是多种太阳能电池板中的任何一种,包括单晶太阳能电池板,多晶太阳能电池板,薄膜非晶硅太阳能电池板和/或聚光光伏太阳能电池板等等。

f238.jpg

f239.jpg



您需要登录后才可以回帖 登录 | 注册

本版积分规则

手机版|小黑屋|www.hutong9.net

GMT-5, 2025-10-1 02:29 AM , Processed in 0.042458 second(s), 18 queries .

Powered by Discuz! X3.5

© 2001-2024 Discuz! Team.

快速回复 返回顶部 返回列表